О товаре
Линейный подшипник LME50-UU-OP - бесфланцевый подшипник открытого типа для вала ∅50 мм. Наибольший типоразмер серии с максимальной нагрузочной способностью для применения в тяжёлом промышленном оборудовании с опорными направляющими валами.
Расшифровка артикула
- LME - линейный подшипник европейской размерности
- 50 - внутренний диаметр посадки на вал: 50 мм
- UU - двусторонние резиновые уплотнения с обоих торцов
- OP - открытое исполнение корпуса (Open): продольный паз для монтажа на опорном валу с боковой стойкой или несущей шиной
Полное обозначение: LME50-UU-OP (TECHNIX). Альтернативное обозначение по классификации NBS/ISB: KBO50100PP.
Конструкция и устройство
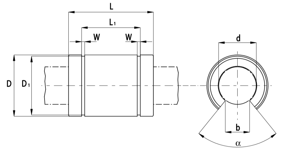
Подшипник выполнен из усиленной закалённой стальной гильзы с продольным пазом (угол раскрытия 50°), полиамидного сепаратора с пятью рядами крупных рециркулирующих шариков, двусторонних резиновых уплотнений (тип UU) и широких стопорных канавок (W=2,65 мм). Конструкция обеспечивает максимальную грузоподъёмность в серии LME-UU-OP. Материал - высокоуглеродистая хромированная сталь.
Размерный ряд серии LME-UU-OP
Ниже приведена таблица всех типоразмеров серии. Текущий товар выделен.
| Модель | d, мм | D, мм | L, мм | L1, мм | D1, мм | h, мм | W, мм | α, ° | C, Н | C0, Н |
|---|---|---|---|---|---|---|---|---|---|---|
| LME12-UU-OP | 12 | 22 | 32 | 22,9 | 21 | 7,5 | 1,3 | 78 | 410 | 590 |
| LME16-UU-OP | 16 | 26 | 36 | 24,9 | 24,9 | 10 | 1,3 | 78 | 770 | 1170 |
| LME20-UU-OP | 20 | 32 | 45 | 31,5 | 30,3 | 10 | 1,6 | 60 | 860 | 1370 |
| LME25-UU-OP | 25 | 40 | 58 | 44,1 | 37,5 | 12,5 | 1,85 | 60 | 980 | 1560 |
| LME30-UU-OP | 30 | 47 | 68 | 52,1 | 44,5 | 12,5 | 1,85 | 50 | 1560 | 2740 |
| LME40-UU-OP | 40 | 62 | 80 | 60,6 | 59 | 16,8 | 2,15 | 50 | 2150 | 4010 |
| LME50-UU-OP | 50 | 75 | 100 | 77,6 | 72 | 21 | 2,65 | 50 | 3820 | 7930 |
Технические параметры и условия эксплуатации
Подшипник работает по принципу рециркуляции шариков в 5 замкнутых дорожках качения с увеличенным диаметром тел качения. Динамическая грузоподъёмность составляет 3820 Н, статическая - 7930 Н - наибольшие показатели в серии LME-UU-OP. Широкие стопорные канавки (W=2,65 мм) обеспечивают надёжную осевую фиксацию при значительных нагрузках. Рабочий диапазон температур: от −20°C до +80°C.
- Внутренний диаметр (d): 50 мм
- Наружный диаметр (D): 75 мм
- Длина (L): 100 мм
- Длина монтажной площадки (L1): 77,6 мм
- Диаметр дна канавки (D1): 72 мм
- Зазор на корпусе (h): 21 мм
- Ширина канавки (W): 2,65 мм
- Угол раскрытия (α): 50°
- Количество рециркуляций (рядов шариков): 5
- Динамическая нагрузка (C): 3820 Н
- Статическая нагрузка (C0): 7930 Н
- Рабочая температура: от −20°C до +80°C
- Материал: высокоуглеродистая хромированная сталь
- Уплотнение: двустороннее резиновое (тип UU)
Применяемость
Подшипник LME50-UU-OP - выбор для наиболее нагруженных узлов линейного перемещения с валом ∅50 мм. Статическая нагрузка 7930 Н делает его пригодным для применения в тяжёлом машиностроении, портальных системах и прессовом оборудовании, где традиционные корпусные подшипники не могут быть использованы из-за конструктивных ограничений.
- Тяжёлые портальные обрабатывающие центры
- Прессы и ковочные машины
- Крупные литейные и горнодобывающие машины
- Промышленные подъёмники и перегрузочные комплексы
- Энергетическое и нефтегазовое оборудование
- Испытательные стенды с высокими динамическими нагрузками
Аналоги
Подшипник LME50-UU-OP (TECHNIX) является полным аналогом следующих изделий:
| Производитель | Обозначение аналога | Тип соответствия |
|---|---|---|
| NBS/ISB | KBO50100PP | Полный аналог |
| INA | KBO50-PP / LBCT50-2LS | Полный аналог |
| SKF | LBCT50-2LS | Полный аналог |
| THK | LME50UU-OP | Полный аналог |
| Samick | LME50UU-OP | Полный аналог |
Часто задаваемые вопросы
- Как правильно установить LME50-UU-OP?
Вал - диаметр 50 мм, допуск h6/g6, шероховатость Ra 0,4. Для установки крупного типоразмера обязательно используйте монтажную оправку - ударная нагрузка на шарики недопустима. Фиксация - стопорными кольцами (W=2,65 мм). Закладывается 5–8 г пластичной смазки перед первым пуском. Рекомендуется проверить соосность направляющего вала и корпуса. - Как оценить состояние и момент замены подшипника?
Критерии: радиальный зазор свыше 0,08 мм, нестабильный ход, повышенная вибрация, нагрев корпуса выше 70°C, видимые следы усталостного разрушения шариков или дорожек. Плановый ресурс - 1500–2500 часов при нормальных условиях. - Чем LME50-UU-OP отличается от LME50-UU (закрытый тип)?
Подшипник OP оснащён пазом 50° для применения на опорных валах. Закрытое исполнение имеет цельный корпус. Оба варианта имеют одинаковые нагрузочные характеристики - выбор определяется конструкцией узла. - Можно ли заменить KBO50100PP (NBS) на LME50-UU-OP (TECHNIX)?
Да. Полная взаимозаменяемость: все монтажные размеры, грузоподъёмность и допуски соответствуют ISO. Замена производится без доработки корпусных деталей. - Каков режим смазки для LME50-UU-OP при тяжёлом режиме?
При нагрузках свыше 70% от C и интенсивной эксплуатации - дозаправка каждые 150–300 часов (2–3 г). В нормальных условиях - каждые 500–800 часов. Рекомендуемые смазки: литол-24, ЦИАТИМ-201, Mobilux EP 2. При температурах выше +60°C - термостойкие смазки класса NLGI 2.
Службы доставки в ПВЗ:
- СДЭК
- Boxberry
- Яндекс Доставка
- DPD
Службы доставки курьером:
- Собственная служба доставки
- СДЭК
- Достависта
О самовывозе со склада
Вы можете самостоятельно забрать заказ в Санкт-Петербурге по адресу:
📍 Люботинский проспект, 5
Линейные подшипники обеспечивают ровное и плавное перемещение деталей по прямой, что важно для станков, 3D-принтеров, манипуляторов и автоматических линий. От правильного выбора детали зависит срок службы оборудования и качество работы узлов при серийном производстве.
В этом материале разберем, как устроены линейные подшипники, чем отличаются между собой и что учитывать при выборе модели под задачи производства.
При установке линейных подшипников исполнители нередко допускают ошибки, которые становятся причиной быстрого выхода из строя этих узлов. В предлагаемом обзоре рассматривается, как предупредить погрешности монтажа, с учетом состава наиболее целесообразных мер с точки зрения технической реализации и экономической целесообразности применяемых технологий.

